热点关注
固液分离式污水处理厂含水废弃物处理方法
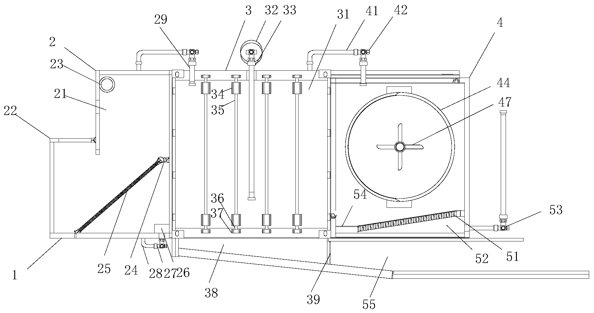
本发明涉及污水处理技术领域,具体是一种固液分离式污水处理厂含水废弃物处理装置,包括处理机架,处理机架上分别设置有过滤厢、一级分离厢和二级分离厢,过滤厢内分为进水腔和排杂腔,进水腔的顶部设置有进水管道,进水腔的底部设置有固液分离网板,一级分离厢的内腔分隔为若干道电离腔,电离腔的上下侧壁上均安装有固定套,上下两侧的固定套之间连接电离杆,二级分离厢内置安装有固定架,固定架上安装有输料管道,输料管道外接安装有输料泵。本申请设置有紧密有序的污水过滤处理工序,依次通过三种不同的处理方式进行有序作业,从而能对可见固体物质,金属元素沉淀以及悬浮型物质分别进行去除和收集。
权利要求书
1.一种固液分离式污水处理厂含水废弃物处理装置,包括处理机架(1),所述处理机架(1)上分别设置有过滤厢(2)、一级分离厢(3)和二级分离厢(4),所述过滤厢(2)内分为进水腔(21)和排杂腔(22),所述进水腔(21)的顶部设置有进水管道(23),其特征在于,所述进水腔(21)的底部设置有固液分离网板(25),所述进水腔(21)的底部设置有抽水泵(26),所述抽水泵(26)的底端安装有增压泵(27),所述增压泵(27)外接第一输水管(28),所述第一输水管(28)的另一端与一级分离厢(3)相连接,所述一级分离厢(3)的内腔分隔为若干道电离腔(31),位于进水端的电离腔(31)通过连接管(29)与第一输水管(28)相连接,相邻的电离腔(31)之间再通过导水管(33)相连接,所述电离腔(31)的上下侧壁上均安装有固定套(34),上下两侧的固定套(34)之间连接电离杆(35),所述接电离杆(35)的两端均安装有外接座(37),上下两侧的外接座(37)上分别安装有电极(36),位于出水端的电离腔(31)外接有第二输水管(41),所述第二输水管(41)与二级分离厢(4)相连接,所述第二输水管(41)上安装有二级增压泵(42),所述二级分离厢(4)内置安装有固定架(43),所述固定架(43)上安装有输料管道(44),所述输料管道(44)外接安装有输料泵,所述输料管道(44)呈螺旋状安装在二级分离厢(4)内,所述输料管道(44)的管壁上开设有若干道出料孔(45)。
2.根据权利要求1所述的固液分离式污水处理厂含水废弃物处理装置,其特征在于,所述二级分离厢(4)的内腔横向安装有横向转轴(46),所述横向转轴(46)上安装有若干道搅拌架(47),所述搅拌架(47)上均安装有搅拌杆(48)。
3.根据权利要求1所述的固液分离式污水处理厂含水废弃物处理装置,其特征在于,所述导水管(33)均设置在顶部,所述导水管(33)上均安装有抽水泵(32)。
4.根据权利要求1所述的固液分离式污水处理厂含水废弃物处理装置,其特征在于,所述进水腔(21)的侧壁上设置有固定栓(24),所述固液分离网板(25)的两端通过固定栓(24)呈倾斜式固定安装在进水腔(21)内,所述固液分离网板(25)的底端伸入至排杂腔(22)中。
5.根据权利要求1所述的固液分离式污水处理厂含水废弃物处理装置,其特征在于,所述外接座(37)上设置有绝缘套。
6.根据权利要求1所述的固液分离式污水处理厂含水废弃物处理装置,其特征在于,所述一级分离厢(3)的底部设置有沉积腔(38),所述沉积腔(38)的底部呈倾斜式设计并且设置有若干道出料口(39)。
7.根据权利要求6所述的固液分离式污水处理厂含水废弃物处理装置,其特征在于,所述二级分离厢(4)的底部还设置有复合纤维滤网(51),所述复合纤维滤网(51)的下方设置有滤水腔(52),所述滤水腔(52)外接排水管道(53),所述复合纤维滤网(51)的末端设置有沉淀排出口(54),所述沉淀排出口(54)的底部设置有沉积排出腔(55)。
8.根据权利要求7所述的固液分离式污水处理厂含水废弃物处理装置,其特征在于,所述出料口(39)与沉积排出腔(55)相连通。
9.根据权利要求1-8任一所述的固液分离式污水处理厂含水废弃物处理装置,其特征在于,所述处理机架(1)上设置有夹持架(71),所述夹持架(71)设置在一级分离厢(3)和二级分离厢(4)之间,所述夹持架(71)上安装有外固架(74),所述一级分离厢(3)和二级分离厢(4)外接安装有外固架(74),所述外固架(74)与夹持架(71)的顶部外沿设置有锁合栓(72),上下两侧的锁合栓(72)之间安装有支撑斜杆(73)。
10.根据权利要求1-8任一所述的固液分离式污水处理厂含水废弃物处理装置,其特征在于,所述一级分离厢(3)的顶部和底板上均设置有若干道固定框(61),所述固定框(61)的框沿设置有安装插槽(64),所述安装插槽(64)内安装有相应的隔板(62),所述隔板(62)通过扣合栓(63)固定安装在固定框(61)内。
说明书
一种固液分离式污水处理厂含水废弃物处理装置
技术领域
本发明涉及污水处理技术领域,具体是一种固液分离式污水处理厂含水废弃物处理装置。
背景技术
污水通常指受一定污染的、来自生活和生产的排出水,污水主要有生活污水、工业废水和初期雨水,污水的主要污染物有病原体污染物、耗氧污染物、植物营养物和有毒污染物等,如果不对污物进行处理,环境就会受到极大的影响,所谓的污水处理就是为使污水达到排入某一水体或再次使用的水质要求对其进行净化的过程,污水处理被广泛应用于建筑、农业、交通、能源、石化、环保、城市景观、医疗、餐饮等各个领域,也越来越多地走进寻常百姓的日常生活。
城市污水主要包括生活污水和工业污水,由城市排水管网汇集并输送到污水处理厂进行处理,需要对城市污水中的固态沉淀物进行固液分离,且现有的污水处理装置在实际使用过程中难以对蓄水池内的沉淀物进行清理的问题。
中国专利(授权公告号:CN209714467U)公布了一种污水处理用固液分离处理装置,通过隔离网能够给蓄水池中间的沉淀物集中保留专用的存纳空间,该专利技术实际的分离方式较为单一,这样为滤网隔离的措施,这样的技术方法与现有技术本质上是相同的,存在一定的缺陷,对固液分离的力度不同,后续水质处理环节仍然会存在大量的沉淀物,影响到水质净化,无法有效全面分离污水中的固液成分。
发明内容
本发明的目的在于提供一种固液分离式污水处理厂含水废弃物处理装置,以解决上述背景技术中提出的问题。
为实现上述目的,本发明提供如下技术方案:
一种固液分离式污水处理厂含水废弃物处理装置,包括处理机架,所述处理机架上分别设置有过滤厢、一级分离厢和二级分离厢,所述过滤厢内分为进水腔和排杂腔,所述进水腔的顶部设置有进水管道,所述进水腔的底部设置有固液分离网板,所述进水腔的底部设置有抽水泵,所述抽水泵的底端安装有增压泵,所述增压泵外接第一输水管,所述第一输水管的另一端与一级分离厢相连接,所述一级分离厢的内腔分隔为若干道电离腔,位于进水端的电离腔通过连接管与第一输水管相连接,相邻的电离腔之间再通过导水管相连接,所述电离腔的上下侧壁上均安装有固定套,上下两侧的固定套之间连接电离杆,所述接电离杆的两端均安装有外接座,上下两侧的外接座上分别安装有电极,位于出水端的电离腔外接有第二输水管,所述第二输水管与二级分离厢相连接,所述第二输水管上安装有二级增压泵,所述二级分离厢内置安装有固定架,所述固定架上安装有输料管道,所述输料管道外接安装有输料泵,所述输料管道呈螺旋状安装在二级分离厢内,所述输料管道的管壁上开设有若干道出料孔。
作为本发明进一步的方案:所述二级分离厢的内腔横向安装有横向转轴,所述横向转轴上安装有若干道搅拌架,所述搅拌架上均安装有搅拌杆。
作为本发明进一步的方案:所述导水管均设置在顶部,所述导水管上均安装有抽水泵。
作为本发明进一步的方案:所述进水腔的侧壁上设置有固定栓,所述固液分离网板的两端通过固定栓呈倾斜式固定安装在进水腔内,所述固液分离网板的底端伸入至排杂腔中。
作为本发明进一步的方案:所述外接座上设置有绝缘套。
作为本发明进一步的方案:所述一级分离厢的底部设置有沉积腔,所述沉积腔的底部呈倾斜式设计并且设置有若干道出料口。
作为本发明进一步的方案:所述二级分离厢的底部还设置有复合纤维滤网,所述复合纤维滤网的下方设置有滤水腔,所述滤水腔外接排水管道,所述复合纤维滤网的末端设置有沉淀排出口,所述沉淀排出口的底部设置有沉积排出腔。
作为本发明进一步的方案:所述出料口与沉积排出腔相连通。
作为本发明进一步的方案:所述处理机架上设置有夹持架,所述夹持架设置在一级分离厢和二级分离厢之间,所述夹持架上安装有外固架,所述一级分离厢和二级分离厢外接安装有外固架,所述外固架与夹持架的顶部外沿设置有锁合栓,上下两侧的锁合栓之间安装有支撑斜杆。
作为本发明再进一步的方案:所述一级分离厢的顶部和底板上均设置有若干道固定框,所述固定框的框沿设置有安装插槽,所述安装插槽内安装有相应的隔板,所述隔板通过扣合栓固定安装在固定框内。
与现有技术相比,本发明的有益效果是:
一.过滤厢用于对水液中明显的沉淀物进行过滤,以固液分离网板作为过滤的机构,对固体物质和污水水液进行分离处理。
二.经过过滤厢处理的污水再增压通入至一级分离厢内,一级分离厢的内腔分隔为若干道电离腔,电离的主要处理对象为污水中存在的大量金属元素,这样金属元素在污水中是严重超标的有害物质,通过电离作业将其沉淀至底部的沉积腔,每次输水时输送上层的非沉淀液体,从而达到层层电离过滤的效果。
三.后续通入絮凝剂等相关的沉淀辅料,通过使废水中的悬浮微粒失去稳定性,胶粒物相互凝聚使微粒增大,形成絮凝体,复合纤维滤网对絮凝产生的沉淀物进行分离,从而全面的过滤出无沉淀物水液,便于后续污水处理工序。输料管道呈螺旋式安装在二级分离厢内,能够提高絮凝剂的播散范围,从而提高与污水的混合度。
四.本申请设置有紧密有序的污水过滤处理工序,依次通过三种不同的处理方式进行有序作业,从而能对可见固体物质,金属元素沉淀以及悬浮型物质分别进行去除和收集,从而对污水中的水质和固态物质进行分离处理,有序提高了后续污水进行的效率,提高整体污水处理流程的便捷性。
五.鉴于絮凝作业时需要进行搅拌作业,为了减少搅拌作业的驱动电机产生的振动效果,本申请设置有相应的一级分离厢和二级分离厢进行固定式作业安装,从而减少其振动影响,使得本申请一体化设计的固液分离机架,更为稳定。
六.本申请还设置有二级分离厢中电离腔的设计,本申请设计其相互呈分隔式安装在二级分离厢内腔,相邻的电离腔直接设置有隔板,隔板呈插入式安装在安装插槽中,便于人员固定或者拆卸,方便维护人员定期对隔板上凝结的沉淀物进行清除。
应当理解的是,以上的一般描述和后文的细节描述仅是示例性和解释性的,并不能限制本申请。
- 2021-07-14久马高速生活污水设备操作培训
- 2021-07-14四川交建污水处理技术培训
- 2021-03-31污水药剂搅拌装置及其使用方法
- 2020-10-02集沉砂隔油压榨一体过滤设备
- 2020-09-29市政污水排污管铺设施工系统















电话:028-81291392
手机:18123218647
邮箱:349984202@qq.com