热点关注
远程污水处理在线诊断控制系统
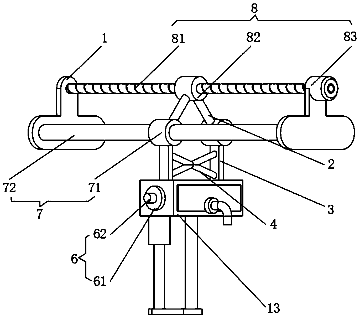
本发明公开了一种远程污水处理在线诊断控制系统,包括安装架、驱动机构、导向机构、检测箱和水泵;驱动机构:包括丝杆、传动螺母和步进电机,步进电机安装在安装架的侧面,所述步进电机的输出轴与丝杆固定,丝杆的端部与安装架转动连接,所述传动螺母与丝杆螺纹连接;导向机构:包括滑块和导杆,导杆的端部与安装架焊接,所述滑块与导杆滑动连接,滑块通过连接件与传动螺母连接;检测箱:通过固定架与滑块连接,所述检测箱的侧面分别安装有通讯模块和排污单元;该远程污水处理在线诊断控制系统,调节方便,省时省力,提高了远程污水处理在线诊断的效率,使用安全性好。
权利要求书
1.一种远程污水处理在线诊断控制系统,其特征在于:包括安装架(1)、驱动机构(8)、导向机构(7)、检测箱(13)和水泵(12);
驱动机构(8):包括丝杆(81)、传动螺母(82)和步进电机(83),步进电机(83)安装在安装架(1)的侧面,所述步进电机(83)的输出轴与丝杆(81)固定,丝杆(81)的端部与安装架(1)转动连接,所述传动螺母(82)与丝杆(81)螺纹连接;
导向机构(7):包括滑块(71)和导杆(72),导杆(72)的端部与安装架(1)焊接,所述滑块(71)与导杆(72)滑动连接,滑块(71)通过连接件(2)与传动螺母(82)连接;
检测箱(13):通过固定架(3)与滑块(71)连接,所述检测箱(13)的侧面分别安装有通讯模块(6)和排污单元(5);
水泵(12):其安装在检测箱(13)的内侧,所述水泵(12)的进水口处连接固定有取样管(11),取样管(11)的端部通过升降机构(9)与检测箱(13)连接,且取样管(11)为螺纹伸缩管;
其中,所述步进电机(83)和水泵(12)的输入端电连接外部控制器的额输出端。
2.根据权利要求1所述的一种远程污水处理在线诊断控制系统,其特征在于:还包括加强肋(4),所述加强肋(4)有两组,两组加强肋(4)交叉固定在固定架(3)的内侧。
3.根据权利要求1所述的一种远程污水处理在线诊断控制系统,其特征在于:所述升降机构(9)包括电动推杆(91)和连接架(92),电动推杆(91)安装在检测箱(13)的底部,所述电动推杆(91)的伸缩端通过连接架(92)与取样管(11)的端部连接,电动推杆(91)的输入端电连接外部控制器的额输出端。
4.根据权利要求1所述的一种远程污水处理在线诊断控制系统,其特征在于:所述排污单元(5)包括排污阀(51)和排污管(52),排污管(52)连通固定在检测箱(13)的侧面,所述排污阀(51)装配在排污管(52)上,排污阀(51)的输入端电连接外部控制器的额输出端。
5.根据权利要求1所述的一种远程污水处理在线诊断控制系统,其特征在于:所述通讯模块(6)包括无线收发器(61)和信号放大器(62),无线收发器(61)安装在检测箱(13)的侧面,且信号放大器(62)安装在无线收发器(61)的侧面,所述无线收发器(61)的输入端电连接信号放大器(62)的输出端,信号放大器(62)的输入端电连接外部控制器的额输出端。
6.根据权利要求1所述的一种远程污水处理在线诊断控制系统,其特征在于:还包括遮挡网(10),所述遮挡网(10)装配在取样管(11)的端部。
说明书
一种远程污水处理在线诊断控制系统
技术领域
本发明涉及控制系统技术领域,具体为一种远程污水处理在线诊断控制系统。
背景技术
现阶段,随着工厂废水和其他污水任意排放的日益严重,水污染问题已备受关注,而污水处理工艺和污水处理控制系统自身对水质处理质量无法保证,造成了水质处理后出水水质指标不稳定甚至不达标情况的出现,对处理后的水质造成二次污染,浪费大量资源与人力,也给环境造成进一步的污染,而对污水处理诊断时,需要对污水进行取样检测,而现有的污水取样需要人力达到多个区域进行取样,费时费力,不能够满足使用需求。
发明内容
本发明要解决的技术问题是克服现有的缺陷,提供一种远程污水处理在线诊断控制系统,调节方便,省时省力,提高了远程污水处理在线诊断的效率,使用安全性好,可以有效解决背景技术中的问题。
为实现上述目的,本发明提供如下技术方案:一种远程污水处理在线诊断控制系统,包括安装架、驱动机构、导向机构、检测箱和水泵;
驱动机构:包括丝杆、传动螺母和步进电机,步进电机安装在安装架的侧面,所述步进电机的输出轴与丝杆固定,丝杆的端部与安装架转动连接,所述传动螺母与丝杆螺纹连接;
导向机构:包括滑块和导杆,导杆的端部与安装架焊接,所述滑块与导杆滑动连接,滑块通过连接件与传动螺母连接;
检测箱:通过固定架与滑块连接,所述检测箱的侧面分别安装有通讯模块和排污单元;
水泵:其安装在检测箱的内侧,所述水泵的进水口处连接固定有取样管,取样管的端部通过升降机构与检测箱连接,且取样管为螺纹伸缩管;
其中,所述步进电机和水泵的输入端电连接外部控制器的额输出端。
进一步的,还包括加强肋,所述加强肋有两组,两组加强肋交叉固定在固定架的内侧,加强肋用于加强固定架之间的连接强度。
进一步的,所述升降机构包括电动推杆和连接架,电动推杆安装在检测箱的底部,所述电动推杆的伸缩端通过连接架与取样管的端部连接,电动推杆的输入端电连接外部控制器的额输出端,电动推杆通过连接架带动取样管的端部进行移动,从而使取样管的端部置于不同深度的污水层,提高了取样管的取样能力。
进一步的,所述排污单元包括排污阀和排污管,排污管连通固定在检测箱的侧面,所述排污阀装配在排污管上,排污阀的输入端电连接外部控制器的额输出端,检测完成后,打开排污阀,污水通过排污管排出,便于进行下次取样工作。
进一步的,所述通讯模块包括无线收发器和信号放大器,无线收发器安装在检测箱的侧面,且信号放大器安装在无线收发器的侧面,所述无线收发器的输入端电连接信号放大器的输出端,信号放大器的输入端电连接外部控制器的额输出端,外部控制器处理的信息通过信号放大器放大,放大的信号通过无线收发器传递到远程控制端,便于进行远程监控。
进一步的,还包括遮挡网,所述遮挡网装配在取样管的端部,遮挡网用于避免较大杂质进入到检测箱内,保证了使用的安全性。
与现有技术相比,本发明的有益效果是:本远程污水处理在线诊断控制系统,具有以下好处:
1、步进电机的输出轴带动丝杆转动,丝杆与传动螺母螺纹传动,传动螺母通过连接件带动滑块在导杆上滑动,滑块通过固定架带动检测箱移动,从而对取样管的取样位置进行调节,其调节方便,省时省力,提高了远程污水处理在线诊断的效率。
2、通过升降机构使取样管的端部置于不同深度的污水层,提高了取样管的取样能力。
3、遮挡网装配在取样管的端部,遮挡网用于避免较大杂质进入到检测箱内,保证了使用的安全性。
- 2021-07-14久马高速生活污水设备操作培训
- 2021-07-14四川交建污水处理技术培训
- 2021-03-31污水药剂搅拌装置及其使用方法
- 2020-10-02集沉砂隔油压榨一体过滤设备
- 2020-09-29市政污水排污管铺设施工系统















电话:028-81291392
手机:18123218647
邮箱:349984202@qq.com