热点关注
智能节能工业污水处理工艺
本发明公开了一种智能节能工业污水处理装置,包括底板、过滤单元、水力发电单元和污水净化单元,底板上表面的中部对称设置有水泵支撑架,水泵支撑架的上端设置有水泵,底板的上表面左侧前端设置有蓄电池,过滤单元设置于底板的上表面左部,过滤单元右壁底端的污水出口与水泵的进水口通过管道连接,水力发电单元设置于底板的上表面左侧,水力发电单元的右端通过轴承与过滤单元转动连接,该智能节能工业污水处理装置,可以对工业污水进行固液分离,可以通过水力发电来产生电器使用的电能,达到节能的目的,可以加速对工业污水的净化处理,净化后的污水可以作为中水回用。
权利要求书
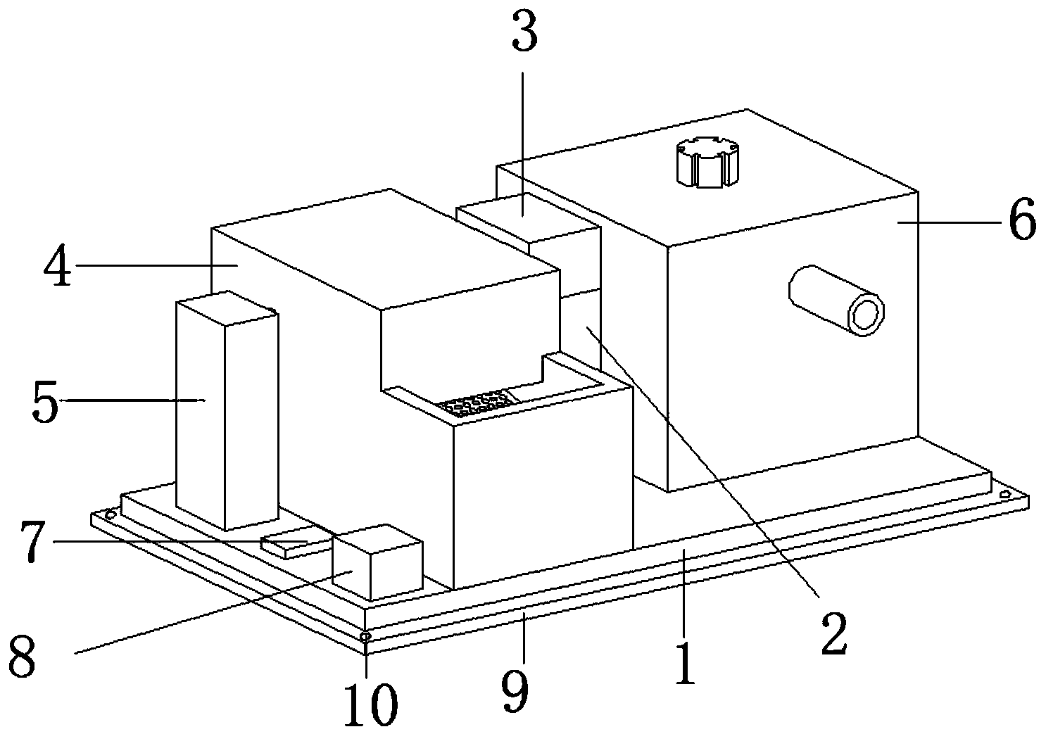
1.一种智能节能工业污水处理装置,其特征在于:包括底板(1)、过滤单元(4)、水力发电单元(5)和污水净化单元(6);
底板(1):上表面的中部对称设置有水泵支撑架(2),水泵支撑架(2)的上端设置有水泵(3),底板(1)的上表面左侧前端设置有蓄电池(8);
过滤单元(4):设置于底板(1)的上表面左部,过滤单元(4)右壁底端的污水出口与水泵(3)的进水口通过管道连接;
水力发电单元(5):设置于底板(1)的上表面左侧,水力发电单元(5)的右端通过轴承与过滤单元(4)转动连接;
污水净化单元(6):设置于底板(1)的上表面右部,污水净化单元(6)左壁的污水口与水泵(3)的出水口通过管道连接;
其中:还包括控制开关组(7),控制开关组(7)设置于底板(1)上表面的左侧中部,控制开关组(7)的输入端电连接蓄电池(8)的输出端,水泵(3)的输入端电连接控制开关组(7)的输出端。
2.根据权利要求1所述的一种智能节能工业污水处理装置,其特征在于:所述过滤单元(4)包括过滤箱(41)、过滤板(42)、过滤孔(43)和槽板(44),所述过滤箱(41)设置于底板(1)的上表面左部,过滤箱(41)的后壁上端设置有污水进口,过滤箱(41)右壁底端的污水出口与水泵(3)的进水口通过管道连接,槽板(44)设置于过滤箱(41)的内部前侧,过滤板(42)的两端分别设置于过滤箱(41)的内部后壁和槽板(44)的后侧壁,过滤板(42)自后向前倾斜设置,过滤孔(43)均匀分布于过滤板(42)的板体。
3.根据权利要求2所述的一种智能节能工业污水处理装置,其特征在于:所述水力发电单元(5)包括发电机(51)、水车柱(52)和水车板(53),所述发电机(51)设置于底板(1)的左侧后端,水车柱(52)通过轴承与过滤箱(41)的左侧壁转动连接,水车柱(52)的左端与发电机(51)的转动轴固定连接,水车板(53)等角度设置于水车柱(52)的右端轴体上,发电机(51)的输出端电连接蓄电池(8)的输入端。
4.根据权利要求1所述的一种智能节能工业污水处理装置,其特征在于:所述污水净化单元(6)包括净化箱(61)、电机(62)、转动轴(63)、搅拌片(64)、隔板(65)、伸缩杆(66)、出水管(67)和活性炭过滤网(68),所述净化箱(61)设置于底板(1)的上表面右部,净化箱(61)左壁的污水口与水泵(3)的出水口通过管道连接,净化箱(61)的前壁设置有化学试剂进口,电机(62)设置于净化箱(61)的上表面中心处,电机(62)的输出轴与转动轴(63)的上端固定连接,转动轴(63)的上端通过轴承与净化箱(61)的顶壁转动连接,搅拌片(64)均匀设置于转动轴(63)的轴体上,隔板(65)设置于净化箱(61)的内部中心处,伸缩杆(66)通过安装架设置于隔板(65)的板体开口处,伸缩杆(66)伸缩端设有的阀块与隔板(65)的板体开口位置对应,出水管(67)设置于净化箱(61)右壁底端的出水口处,出水管(67)的内部串联有管阀,活性炭过滤网(68)通过安装框架设置于净化箱(61)的内部下侧,净化箱(61)侧壁与活性炭过滤网(68)对应的维修口内设有封盖,电机(62)和伸缩杆(66)的输入端均电连接控制开关组(7)的输出端。
5.根据权利要求1所述的一种智能节能工业污水处理装置,其特征在于:还包括安装板(9)和安装孔(10),所述安装板(9)设置于底板(1)的底面,安装孔(10)对称设置于安装板(9)的板体四角。
说明书
一种智能节能工业污水处理装置
技术领域
本发明涉及工业污水处理技术领域,具体为一种智能节能工业污水处理装置。
背景技术
工业污水,指工艺生产过程中排出的废水和废液,其中含有随水流失的工业生产用料、中间产物、副产品以及生产过程中产生的污染物,是造成环境污染,特别是水污染的重要原因,工业废水的处理虽然早在19世纪末已经开始,但由于许多工业污水成分复杂,性质多变,仍有一些技术问题没有完全解决,在对工业污水进行处理时,需要用到工业污水处理装置,现有的工业污水处理装置,由于工业污水的巨大排放量,在污水处理这一领域,需要耗费庞大的能源,无法达到节能的目的,还无法将工业污水中的废渣和铁屑分离出来,因此,为了解决上述问题,我们设计出了一种智能节能工业污水处理装置。
发明内容
本发明要解决的技术问题是克服现有的缺陷,提供一种智能节能工业污水处理装置,可以对工业污水进行固液分离,可以通过水力发电来产生电器使用的电能,达到节能的目的,可以加速对工业污水的净化处理,净化后的污水可以作为中水回用,可以有效解决背景技术中的问题。
为实现上述目的,本发明提供如下技术方案:一种智能节能工业污水处理装置,包括底板、过滤单元、水力发电单元和污水净化单元;
底板:上表面的中部对称设置有水泵支撑架,水泵支撑架的上端设置有水泵,底板的上表面左侧前端设置有蓄电池;
过滤单元:设置于底板的上表面左部,过滤单元右壁底端的污水出口与水泵的进水口通过管道连接;
水力发电单元:设置于底板的上表面左侧,水力发电单元的右端通过轴承与过滤单元转动连接;
污水净化单元:设置于底板的上表面右部,污水净化单元左壁的污水口与水泵的出水口通过管道连接;
其中:还包括控制开关组,控制开关组设置于底板上表面的左侧中部,控制开关组的输入端电连接蓄电池的输出端,水泵的输入端电连接控制开关组的输出端,可以对工业污水进行固液分离,可以通过水力发电来产生电器使用的电能,达到节能的目的,可以加速对工业污水的净化处理,净化后的污水可以作为中水回用。
进一步的,所述过滤单元包括过滤箱、过滤板、过滤孔和槽板,所述过滤箱设置于底板的上表面左部,过滤箱的后壁上端设置有污水进口,过滤箱右壁底端的污水出口与水泵的进水口通过管道连接,槽板设置于过滤箱的内部前侧,过滤板的两端分别设置于过滤箱的内部后壁和槽板的后侧壁,过滤板自后向前倾斜设置,过滤孔均匀分布于过滤板的板体,可以对工业污水进行固液分离。
进一步的,所述水力发电单元包括发电机、水车柱和水车板,所述发电机设置于底板的左侧后端,水车柱通过轴承与过滤箱的左侧壁转动连接,水车柱的左端与发电机的转动轴固定连接,水车板等角度设置于水车柱的右端轴体上,发电机的输出端电连接蓄电池的输入端,可以通过水力发电来产生电器使用的电能,达到节能的目的。
进一步的,所述污水净化单元包括净化箱、电机、转动轴、搅拌片、隔板、伸缩杆、出水管和活性炭过滤网,所述净化箱设置于底板的上表面右部,净化箱左壁的污水口与水泵的出水口通过管道连接,净化箱的前壁设置有化学试剂进口,电机设置于净化箱的上表面中心处,电机的输出轴与转动轴的上端固定连接,转动轴的上端通过轴承与净化箱的顶壁转动连接,搅拌片均匀设置于转动轴的轴体上,隔板设置于净化箱的内部中心处,伸缩杆通过安装架设置于隔板的板体开口处,伸缩杆伸缩端设有的阀块与隔板的板体开口位置对应,出水管设置于净化箱右壁底端的出水口处,出水管的内部串联有管阀,活性炭过滤网通过安装框架设置于净化箱的内部下侧,净化箱侧壁与活性炭过滤网对应的维修口内设有封盖,电机和伸缩杆的输入端均电连接控制开关组的输出端,可以加速对工业污水的净化处理,净化后的污水可以作为中水回用。
进一步的,还包括安装板和安装孔,所述安装板设置于底板的底面,安装孔对称设置于安装板的板体四角,对底板以及上方结构进行固定,保证工作时的稳定性。
与现有技术相比,本发明的有益效果是:本智能节能工业污水处理装置,具有以下好处:
1、工业污水经过滤箱后壁的污水进口进入过滤箱,工业污水推动水车板转动,带动水车柱转动,使水推动水车板产生的势能转化为机械能,水车柱转动产生的机械能经过发电机的转化为电能,发电机所产生的电能存储到蓄电池内,可以通过水力发电来产生电器使用的电能,节能环保,达到节能的目的。
2、工业污水经过过滤板板体上过滤孔的过滤,污水集中到过滤箱的下部,由于过滤板的倾斜设计,被筛选出的工业废渣和铁屑落入槽板和过滤箱前壁形成的凹槽内部,可以对工业污水进行固液分离。
3、通过控制开关组的调控,水泵将过滤箱下部的污水送入净化箱的内部,同时,将化学试剂经净化箱前壁的化学试剂进口送入净化箱的内部,电机运转,带动转动轴转动,使搅拌片旋转,能够加速对工业污水的净化处理,净化完成后,伸缩杆收缩,使阀块打开,将净化后的污水排放,净化后的污水再经过活性炭过滤网的过滤集中在净化箱的下部,需要使用时,打开出水管内部串联的阀门,将净化后的污水排出,工业污水经过净化处理后,可以作为中水回用。
- 2021-07-14久马高速生活污水设备操作培训
- 2021-07-14四川交建污水处理技术培训
- 2021-03-31污水药剂搅拌装置及其使用方法
- 2020-10-02集沉砂隔油压榨一体过滤设备
- 2020-09-29市政污水排污管铺设施工系统















电话:028-81291392
手机:18123218647
邮箱:349984202@qq.com