热点关注
建筑工地生活污水处理方案
文章作者:四川龙源智造水处理设备有限公司人气:发表时间:2021-03-18
众所周知,建筑工地用生活污水处理设备是一种用于建筑工地过滤工人宿舍生活污水,去除生活污水中不溶性杂质,便于对生活污水进行后续处理的装置,其在污水处理的领域中得到了广泛的使用;现有的建筑工地用生活污水处理设备包括过滤箱、四组支腿、进水管、出水管、排污管和滤板,过滤箱内部设置有第一储存腔,过滤箱顶面左半区域设置有第一开口,第一开口与第一储存腔相同,四组支腿顶端分别与过滤箱底面左前侧、左后侧、右前侧和右后侧连接,进水管右端输出端与过滤箱左侧壁上半区域连通,出水管左端输入端与过滤箱右侧壁下半区域连通,排污管顶端输入端与过滤箱底面左半区域连通,滤板安装在过滤箱内侧壁中央区域并将过滤箱分隔成左右两个独立的腔室;现有的建筑工地用生活污水处理设备使用时,将进水管打开,污水自进水管流入过滤箱,进入过滤箱内部的生活污水经过滤板的过滤作用,杂质被拦截在滤板左侧,经过过滤的生活污水穿过滤板并自出水管排出,生活污水过滤处理结束后,滤板拦截的杂质部分落在过滤箱内底壁左半区域,打开排污管,杂质自排污管排出即可;现有的建筑工地用生活污水处理设备使用中发现,滤板上会残留部分杂质,不方便讲滤板上的杂质清理干净,降低滤板的过滤效果,使用合理性较差。

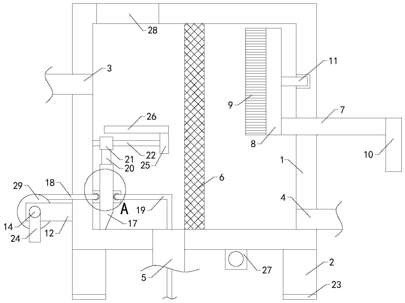
1.建筑工地用生活污水处理设备,包括过滤箱(1)、四组支腿(2)、进水管(3)、出水管(4)、排污管(5)和滤板(6),过滤箱(1)内部设置有第一储存腔,过滤箱(1)顶面左半区域设置有第一开口,第一开口与第一储存腔相同,四组支腿(2)顶端分别与过滤箱(1)底面左前侧、左后侧、右前侧和右后侧连接,进水管(3)右端输出端与过滤箱(1)左侧壁上半区域连通,出水管(4)左端输入端与过滤箱(1)右侧壁下半区域连通,排污管(5)顶端输入端与过滤箱(1)底面左半区域连通,滤板(6)安装在过滤箱(1)内侧壁中央区域并将过滤箱(1)分隔成左右两个独立的腔室;其特征在于,还包括转轴(7)、转板(8)、多组刷毛(9)、把手(10)、固定杆(11)、前支板(12)、后支板(13)、固定轴(14)、左固定块(15)、右固定块(16)、刮板(17)、左拉绳(18)、右拉绳(19)、连接杆(20)、滑块(21)和滑杆(22),所述转轴(7)左端穿过过滤箱(1)右侧壁中央区域与转板(8)右侧壁下半区域连接,转轴(7)与过滤箱(1)右侧壁机械密封,所述多组刷毛(9)右端均与转板(8)左侧壁连接,转轴(7)右端与把手(10)左侧壁上半区域连接,所述固定杆(11)左端与转板(8)右侧壁中央区域连接,过滤箱(1)内左侧壁上半区域设置有圆形凹槽,固定杆(11)右端插入圆形凹槽内,所述前支板(12)右端和后支板(13)右端分别与过滤箱(1)左侧壁下半区域前侧和后侧连接,前支板(12)左半区域前后方向设置有第一圆孔,所述固定轴(14)后端穿过第一圆孔并与后支板(13)前面左半区域轴连接,所述左固定块(15)右端和右固定块(16)左端分别与刮板(17)左侧壁中央区域和右侧壁中央区域连接,左固定块(15)前后方向和右固定块(16)前后方向分别设置有第二圆孔和第三圆孔,所述左拉绳(18)右端穿过第二圆孔并捆绑在左固定块(15)上,左拉绳(18)与过滤箱(1)左侧壁下半区域机械密封,左拉绳(18)左端缠绕在固定轴(14)上,所述右拉绳(19)左端穿过第三圆孔并捆绑在右固定块(16)上,右拉绳(19)另一端穿出排污管(5),所述连接杆(20)底端和顶端分别与挂板顶端和滑块(21)底端连接,滑块(21)横向设置有第四圆孔,所述滑杆(22)左端穿过第四圆孔与过滤箱(1)内左侧壁下半区域连接。
建筑工地用生活污水处理设备,包括过滤箱、四组支腿、进水管、出水管、排污管和滤板,过滤箱内部设置有第一储存腔,过滤箱顶面左半区域设置有第一开口,第一开口与第一储存腔相同,四组支腿顶端分别与过滤箱底面左前侧、左后侧、右前侧和右后侧连接,进水管右端输出端与过滤箱左侧壁上半区域连通,出水管左端输入端与过滤箱右侧壁下半区域连通,排污管顶端输入端与过滤箱底面左半区域连通,滤板安装在过滤箱内侧壁中央区域并将过滤箱分隔成左右两个独立的腔室;还包括转轴、转板、多组刷毛、把手、固定杆、前支板、后支板、固定轴、左固定块、右固定块、刮板、左拉绳、右拉绳、连接杆、滑块和滑杆,所述转轴左端穿过过滤箱右侧壁中央区域与转板右侧壁下半区域连接,转轴与过滤箱右侧壁机械密封,所述多组刷毛右端均与转板左侧壁连接,转轴右端与把手左侧壁上半区域连接,所述固定杆左端与转板右侧壁中央区域连接,过滤箱内左侧壁上半区域设置有圆形凹槽,固定杆右端插入圆形凹槽内,所述前支板右端和后支板右端分别与过滤箱左侧壁下半区域前侧和后侧连接,前支板左半区域前后方向设置有第一圆孔,所述固定轴后端穿过第一圆孔并与后支板前面左半区域轴连接,所述左固定块右端和右固定块左端分别与刮板左侧壁中央区域和右侧壁中央区域连接,左固定块前后方向和右固定块前后方向分别设置有第二圆孔和第三圆孔,所述左拉绳右端穿过第二圆孔并捆绑在左固定块上,左拉绳与过滤箱左侧壁下半区域机械密封,左拉绳左端缠绕在固定轴上,所述右拉绳左端穿过第三圆孔并捆绑在右固定块上,右拉绳另一端穿出排污管,所述连接杆底端和顶端分别与挂板顶端和滑块底端连接,滑块横向设置有第四圆孔,所述滑杆左端穿过第四圆孔与过滤箱内左侧壁下半区域连接。
建筑工地用生活污水处理设备,还包括四组防滑垫,所述四组防滑垫顶端分别与四组支腿底端连接。
建筑工地用生活污水处理设备,还包括转杆,所述转杆顶端与固定轴底面前半区域连接。
建筑工地用生活污水处理设备,还包括限位板,所述滑杆右端与限位板左侧壁中央区域连接。
建筑工地用生活污水处理设备,还包括挡板,限位板顶端与挡板底面右半区域连接。
建筑工地用生活污水处理设备,还包括固定板,所述固定板顶端与过滤箱底面右半区域连接,固定板前后方向设置有第五圆孔。
建筑工地用生活污水处理设备,还包括透明观察板,所述透明观察板安装在第一开口处。
建筑工地用生活污水处理设备,还包括前卡板和后卡板,所述固定轴前端和后端分别穿过前卡板中央区域和后卡板中央区域。
与现有技术相比有益效果为:将进水管打开,污水自进水管流入过滤箱,进入过滤箱内部的生活污水经过滤板的过滤作用,杂质被拦截在滤板左侧,经过过滤的生活污水穿过滤板并自出水管排出,生活污水过滤处理结束后,部分杂质滤板上落在过滤箱内底壁左半区域,仍会有部分杂质留在滤板上,此时,向左推动转轴,转轴带动转板向左移动,直至转板上的多组刷毛与滤板右侧壁上半区域接触,在转板向左移动的同时,固定杆自圆形凹槽内抽出,旋转转轴,转轴带动转板旋转,旋转的转板带动多组刷毛对滤板进行清理,使得滤板左侧壁上的杂质自滤板上落下,然后旋转转轴并向右移动转轴,使得固定杆插入圆形凹槽内,减少转板继续转动,然后向下拉动右拉绳能,右拉绳通过右固定块向右拉动刮板,刮板将过滤箱内底壁左半区域掉落的杂质推至排污管处,杂质自排污管排出,在刮板向右移动的同时,刮板通过连接杆带动滑块沿滑杆向右滑动,刮板通过左固定块带动左拉绳向右移动,左拉绳带动固定轴旋转并自固定轴上旋转松开,当刮板将过滤箱内底壁左半区域的杂质推至排污管后,旋转固定轴,使得左拉绳不断缠绕在固定轴上,左拉绳通过左固定块带动刮板向左移动,刮板带动右拉绳向左移动,同时滑块沿滑杆向左滑动,方便清理滤板上的杂质,提高滤板的过滤效果,提高使用合理性
龙源智造水处理设备有限公司/ 污水处理设备相关资讯文章
- 2021-07-14久马高速生活污水设备操作培训
- 2021-07-14四川交建污水处理技术培训
- 2021-03-31污水药剂搅拌装置及其使用方法
- 2020-10-02集沉砂隔油压榨一体过滤设备
- 2020-09-29市政污水排污管铺设施工系统














电话:028-81291392
手机:18123218647
邮箱:349984202@qq.com