
-
龙源智造企业优势
1.公司是西南四省连锁企业,售后服务高效及时,承诺售后不及时每天合同金额3%违约金。 2.公司设备装好后,即留一部分款检测合格或者使用一段时间没有问题后支付。 3.公司 028-857...
2020-09-28

-
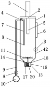
污水臭气检测方法
本实用新型公开了一种污水臭气检测装置,涉及气体检测领域,包括臭气储存箱,所述臭气储存箱顶部设置有安装板,所述安装板顶部设置有把手,所述安装板底部中间且在臭气储存箱...
2020-08-20

-
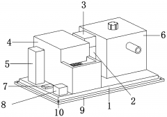
智能节能工业污水处理工艺
本发明公开了一种智能节能工业污水处理装置,包括底板、过滤单元、水力发电单元和污水净化单元,底板上表面的中部对称设置有水泵支撑架,水泵支撑架的上端设置有水泵,底板的...
2020-08-20

-
利用嗜热菌处理石油污水方法
本发明涉及生物法处理石油污水技术领域,具体公开了一种利用嗜热菌处理石油污水的方法,采用噬热栖热菌对所述石油污水进行处理,将噬热栖热菌进行活化、活化后的菌株进行训化...
2020-08-20

-
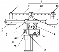
远程污水处理在线诊断控制系统
本发明公开了一种远程污水处理在线诊断控制系统,包括安装架、驱动机构、导向机构、检测箱和水泵;驱动机构:包括丝杆、传动螺母和步进电机,步进电机安装在安装架的侧面,所述...
2020-08-20

-
污水蒸发汽处理系统
本发明涉及污水处理技术领域,公开了一种污水蒸发汽处理系统,包括蒸汽冷凝回路、冷却循环回路以及换热器,蒸汽冷凝回路的一端与污水蒸发装置相通,蒸汽冷凝回路的另一端设有...
2020-08-20





电话:028-81291392
手机:18123218647
邮箱:349984202@qq.com